“谷爱凌”3年前就被人注册了!成皮具床单家具商标,律师这样说
每经编辑 卢祥勇
2月8日,在2022北京冬奥会自由式滑雪女子大跳台决赛现场,经过3轮比拼,中国选手谷爱凌以总分188.25分夺冠,为中国队赢得本届冬奥会雪上项目的首枚金牌。
谷爱凌彻底火了。有细心的网友发现,“谷爱凌”早在2019年6月就被人注册了商标,国际分类涉及皮革皮具、教育娱乐、广告销售、灯具空调等。同时,也有多个公司及自然人申请的“谷爱凌”商标流程显示为“被驳回”或“商标无效”。

官宣参赛后,姓名被注册商标
谷爱凌的个人社交平台显示,2019年6月6日她发文宣布,将代表中国征战2022北京冬季奥运会,为推广自由式滑雪,提高中国和世界冰雪运动而努力。

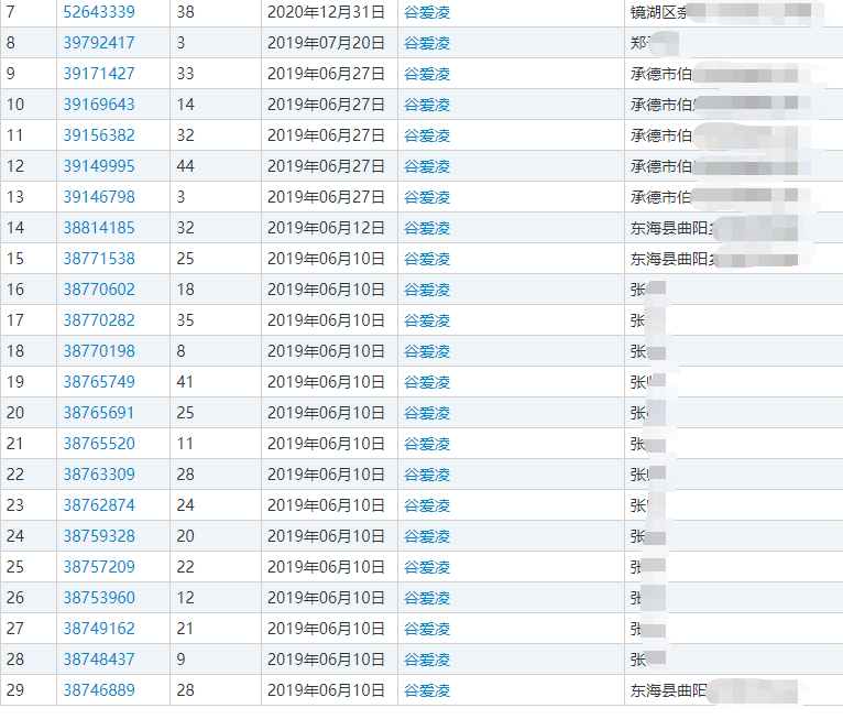
中国商标网显示,自谷爱凌宣布参赛后的第4天起,多个企业及自然人申请注册“谷爱凌”商标,申请总数达29条。
其中,自然人张某于2019年6月10日申请注册13个“谷爱凌”商标,其中11个注册成功,商标国际分类涉及广告销售、教育娱乐、皮革皮具、手工器械、灯具空调、布料床单、家具、绳网带篷、运输工具、厨房洁具、电子器具。另外的健身器材类、服装鞋帽类商标申请尚未通过,处于等待实质审查阶段。


其余企业及自然人在2019年6月10日后注册“谷爱凌”商标的申请均显示“被驳回”或“商标无效”。
由于2019年6月7~6月9日是端午假期,也就是说,谷爱凌宣布参赛后的第一个工作日,姓名商标就被人抢注。
有知识产权律师撰文称,在我国目前《商标法》制度下,注册商标所有权的归属是以“在先申请”而非“在先使用”为原则的,即,注册商标的所有权原则上是由最先申请的主体享有,该商标权人能够在注册的商品或服务范围内排除其他主体对于商标的使用。那么问题来了,这对谷爱凌会有什么现实影响?
其一、在今后的某一天,谷爱凌可能想在某种商品上申请注册“谷爱凌”商标,发现其申请却被商标局驳回,驳回的理由是“申请的商标与张先生的xx号引证商标在文字构成、排列顺序上完全相同或较为相近,指定使用在同一种或类似服务上,易导致相关公众对服务来源产生混淆”,最终谷爱凌难以在某种商品上获得以其姓名为商标的商标专用权。
其二、在今后的某一天,谷爱凌突然发现,商标权权利人张先生在北京的胡同里新开了一家“谷爱凌”品牌的的冰上体育培训班(第41类),每个小朋友背着“谷爱凌”牌的小背包(第18类),自己却很难制止。
对此,云南凌云律师事务所知识产权中心主任、昆明市律协知识产权委员会副主任董建国在接受云南网记者采访时表示,“如果谷爱凌本人提出商标无效,国家知识产权局将会宣告相应的商标无效。”董建国提到,要看商标申请人能否提出证据,证明其注册该商标并非因为谷爱凌本人的名气,“我们从汉语的语义去理解‘谷爱凌’三个字,是没什么实际意义的,一般来讲,若不是因为她的名气注册,是说不过去的。”
国家知识产权局于2021年3月起实施《打击商标恶意抢注行为专项行动方案》,集中开展打击商标恶意抢注行为专项行动。“根据该方案,相关的商标申请人有可能会受到相应处罚。”董建国说。

国家知识产权局主管媒体:必定竹篮打水
2月9日,国家知识产权局主管媒体《中国知识产权报》发文称,除了谷爱凌之外,自北京冬奥会开幕以来,已在短道速滑项目上斩获两金的任子威、在单板滑雪男子坡面障碍技巧决赛中夺得银牌为中国队实现历史性突破的苏翊鸣、日本花滑明星羽生结弦等中外奥运健儿也都凭借着自己的实力“吸粉”无数。这些奥运健儿们的姓名商标状况如何呢?
中国商标网显示,尚未有“任子威”“苏翊鸣”商标被提交注册申请。
而以“羽生结弦”为商标名称进行检索的结果显示,目前,共有10件“羽生结弦”相关商标被提交注册申请(见下图),而这当中仅有2件由羽生结弦本人所属株式会社天狼星之队申请注册的“羽生结弦”商标获准注册,其他8件则均处于因申请被驳回、不予受理等原因导致的商标无效状态。

近年来,我国一直致力于严厉打击恶意商标注册申请行为。
上文提到的《打击商标恶意抢注行为专项行动方案》中就提到,严厉打击7类图谋不当利益、扰乱商标注册管理秩序、造成较大不良社会影响的恶意抢注情形,其中一类即为“恶意抢注具有较高知名度的公众人物姓名、知名作品或者角色名称的”。

2021年8月19日,针对“杨倩”“陈梦”“全红婵”等奥运健儿姓名被多方提交商标注册申请事件,国家知识产权局发布了《关于依法驳回“杨倩”“陈梦”“全红婵”等109件商标注册申请的通告》,“杨倩”“陈梦”“全红婵”等109件相关商标注册申请被依法驳回。

从国家到地方,都在重拳出击、严厉打击商标恶意抢注行为,在这样的高压态势下,商标恶意抢注行为必定竹篮打水。
编辑|卢祥勇 杜恒峰 王嘉琦
校对|程鹏
封面图来源:视觉中国VCG111368259837

每日经济新闻综合自封面新闻、云南网、中国知识产权报
德尔塔之后,奥密克戎毒株又全球大流行,
点击下方图片或扫描下方二维码,查看最新疫情数据↓



每经头条
每经热评
川公网安备 51019002002025号