罕见!长城、比亚迪互转商标,但“坦克”商标仍未注册成功
每经记者 段思瑶 每经编辑 段炼,裴健如
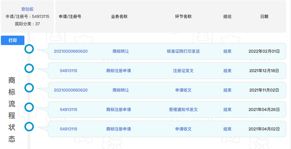
近日,国家知识产权局商标局中国商标网相关信息显示,原归属于长城汽车股份有限公司(以下简称长城汽车)的“登陆舰”商标,已于2022年2月1日正式转让给比亚迪股份有限公司(以下简称比亚迪)。

图片来源:国家知识产权局商标局中国商标网
据了解,“登陆舰”为比亚迪海洋网军舰系列的一款MPV车型,预计于明年实现上市。从目前释放的信息来看,登陆舰将在尺寸上对标GL8,提供插混和纯电两种动力类型,售价将在20万~30万元区间内。
事实上,这并不是两家企业首次转让商标。早在2016年1月,比亚迪提交“魏”商标注册申请,随后在2021年将其转让给长城汽车。彼时,长城汽车表示,会将其他注册商标转让给比亚迪。难怪有网友调侃:“这也算是礼尚往来了。”

坦克商标仍未注册成功?
在长城汽车与比亚迪互转商标被传为佳话的同时,前者旗下坦克品牌的商标注册之路颇为艰难。《每日经济新闻》记者通过查询中国商标网获悉,长城汽车申请的“坦克汽车”“坦克SUV”“坦克300”等商标仍处于驳回复审或申请被驳回、不予受理等状态。

图片来源:每经记者 段思瑶 摄(资料图)
根据《商标法》第三十条规定,“申请注册的商标,凡不符合本法有关规定或者同他人在同一种商品或者类似商品上已经注册的或者初步审定的商标相同或者近似的,由商标局驳回申请,不予公告。”
近两年多时间以来,长城汽车注册的与“坦克”相关的多个商标状态一栏显示“无效”。相关商标的注册失败,让坦克品牌或将改名的传言一度甚嚣尘上。对此,坦克品牌内部人员曾告诉记者:“长城汽车坦克系列商标正在申请中,相关工作正在有序推进。”
一位律师表示:“如果没有商标法的保护,坦克品牌的相关商标名称就增加了被别的企业抢先注册的风险。如果一旦被别的企业抢先注册成功,注册人就有权利对使用商标的企业进行起诉。”
根据《商标法》第五十七条规定,“未经商标注册人的许可,在同一种商品上使用与其注册商标相同的商标的,属侵犯注册商标专用权。”
目前,坦克品牌旗下车型在终端消费市场的热度仍居高不下。官方数据显示,截至2021年底,坦克300订单已排22万个,全年最终交付量约为8.46万辆。

车企商标保护意识正在增强
不管是长城与比亚迪之间互转商标,还是坦克商标注册的波折,都足见汽车企业的商标保护意识正在增强。在此之前,由于不注重商标保护,曾有车企因商标纠纷闹上法庭。
2014年,广汽乘用车与长安汽车“撞标”,但并非广汽乘用车现行使用的“G标”,而是广汽乘用车成立之初设计并注册的“V标”,该标识与长安汽车现在使用的标识十分相像。最终经过协商,双方达成了转让协议,广汽乘用车以300万元的价格转让商标使用权,同时宣布将该笔费用全部投向公益事业。

图片来源:每经记者 李星 摄(资料图)
据中国新能源汽车商标注册数据,截至2019年底,近70%生产新能源汽车的企业没有进行商标注册,商标注册申请完成率仅1%。另据《中国汽车行业知识产权年度报告2020》(汽车知识产权蓝皮书 2020),2009~2019年,汽车行业专利权属、侵权纠纷案件数量年复合增长率为36.38%,是汽车行业知识产权案件中增长速度最快的类型。
从市场营销角度讲,商标对于品牌来说是无形的资产,对提高品牌认知度、提升品牌忠诚度有很大推动作用。车企除了保护自身品牌商标外,还热衷于抢注一些潮流商标。如,理想汽车、上汽集团、蔚来汽车、小鹏汽车等纷纷抢注“元宇宙”商标。
新能源与智能网联汽车独立研究者曹广平接受媒体采访时表示,元宇宙与汽车的智能网联及先进显示技术的内涵和外延客观上存在部分重叠,但关键要看有没有核心的硬件和软件技术支撑。一切虚拟增强现实及交互技术,最终都不是完全虚拟的,其中最真实的软硬件及内容方面,是否满足用户需求,是否实现技术和水平领先,对用户和企业才最重要和具有现实意义。
记者| 段思瑶
编辑|段炼 裴健如 杜恒峰
校对|卢祥勇

|每日经济新闻 nbdnews 原创文章|
未经许可禁止转载、摘编、复制及镜像等使用
如需转载请向本公众号后台申请并获得授权
德尔塔之后,奥密克戎毒株又全球大流行,
点击下方图片或扫描下方二维码,查看最新疫情数据↓



每经头条
每经热评
川公网安备 51019002002025号